Getting ready to install your new fireplace? A little pre-planning goes a long way toward a smooth, safe installation. Use this checklist to ensure everything is set before your fireplace hits its home.

"*" indicates required fields

Contact Information

Name*
Your Preferred Location*

Installation Residence

Address

Upload Photo

Accepted file types: jpg, gif, png, Max. file size: 256 MB.

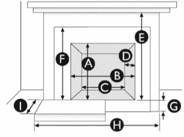
Fireplace Measurements

Fireplace & Home Details

Fireplace Model
Fuel Type
Installed Location
Home Type
Home Style
Type of Roof
Roof Pitch
Type of Ceiling
Ceiling Height
Attic Height
Fireplace Style
Home Foundation

Acknowledgement & Comments

Installation
Hearth Pre-Delivery Checklist:

Rich's makes every attempt to estimate the installation charge based upon the homeowner's information provided at the time of purchase. Clearly filling out this form to the best of your knowledge will reduce the likelihood of additional fees being assessed at the time of installation.

Customer is responsible for electrical costs if necessary.

  • Customer is responsible for the cost of customized stove surround if needed.
  • Customer is responsible for the cost of removal and/or disposal of existing stove.
  • Customer is responsible for the cost of alteration of fireplace to install new stove.
  • Customer is responsible for obtaining all necessary permits for stove installation.
  • Customer is responsible for costs associated with hearth and mantel protection.
  • Customer is responsible for labor to install thermostat or remote control.